Soda Acid Filters
Soda Acid Filters
Eurovacuum Soda Acid filters are used to Minimizes migration of corrosive chemicals and neutralizes acidic vapors. The filters are made of a Polypropylene housing, Styrene Acrylonitrile sump and a Soda filter cartridge constructed from Stainless Steel with Buna-N gaskets. The housing is available in two sizes, Small and Medium.
Part Numer
| Ordering Information | Soda Acid Filters |
|---|---|
| Complete Housing and Cartridge Small | 779001 |
| Complete Housing and Cartridge Medium | 779002 |
| Replacement Cartridge Small | 779101 |
| Replacement Cartridge Medium | 779102 |
| Adapter flange to DN 25 KF | 779901 |
Specifications
| Technical Data | Soda Acid Filters Small & Medium | |
|---|---|---|
| Intake exhaust ports | G (BSP) | 3/4 ” Female |
| Housing material | Polypropylene | |
| Sump material | Styrene Acrylonitrile | |
| Seals | Buna-N | |
| Filter construction materials | Stainless Steel end-caps and screen | |
| Optimal pumping speed Small | m3/h | 1.5 to 6 |
| Optimal pumping speed Medium | m3/h | 6 to 36 |
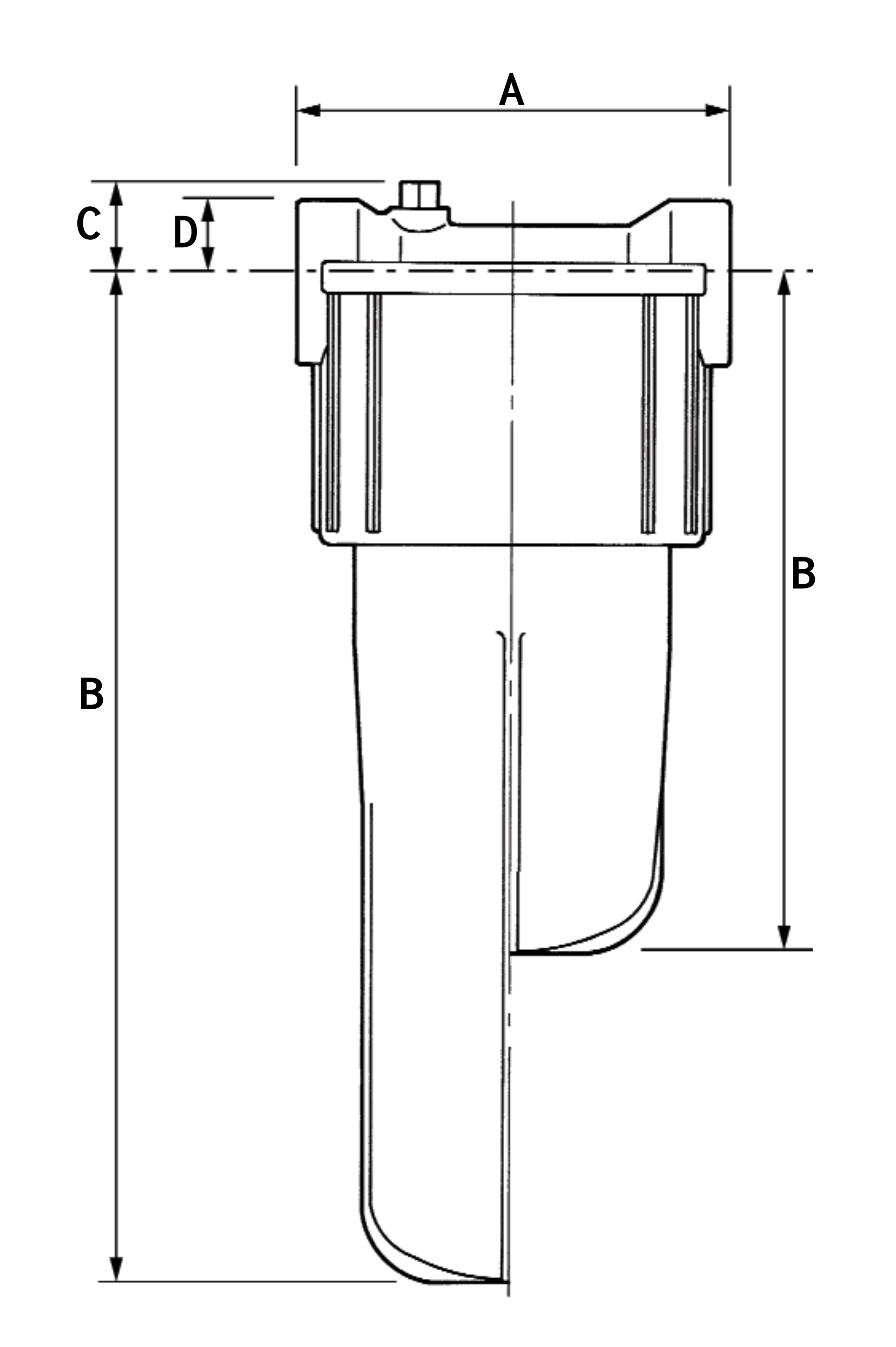
Dimensions
Dimensions in mm
| Dimensions | A | B | C | D |
|---|---|---|---|---|
| Soda Acid Filter Small | 140 | 33 | 202 | 26 |
| Soda Acid Filter Medium | 140 | 33 | 325 | 26 |
